Porsche pregătește o vopsea „vie”. Mașina își va schimba culoarea în funcție de modul de rulare
De Inna | 21 Aprilie, 2026
Porsche lucrează la o tehnologie cu adevărat futuristă. Caroseria va fi capabilă să-și modifice culoarea și să afișeze informații direct pe caroserie.
Un set de brevete recente depuse la Organizația Mondială a Proprietății Intelectuale arată că Porsche explorează o nouă direcție în designul auto: suprafețe exterioare inteligente, capabile să-și schimbe aspectul în timp real.
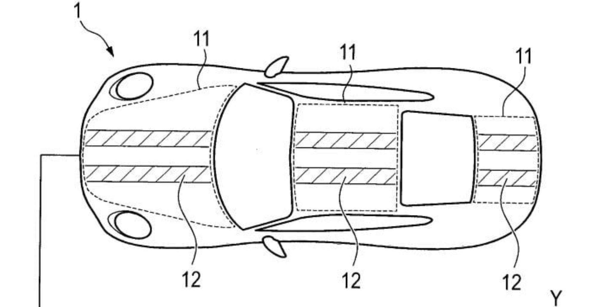
Tehnologia se bazează pe un strat special cu proprietăți optice variabile, aplicat pe panourile caroseriei. Acesta funcționează similar cu ecranele e-ink, utilizând un film electroforetic care poate modifica modul în care lumina este reflectată. Astfel, anumite elemente de design devin vizibile doar în anumite condiții.
De exemplu, liniile distinctive ale unui Porsche 911 ar putea apărea exclusiv atunci când șoferul selectează modurile Sport sau Sport Plus, în timp ce în utilizarea zilnică mașina ar avea un aspect mult mai discret.

Pe lângă rolul estetic, sistemul ar putea avea și aplicații practice. Constructorul german analizează utilizarea acestor panouri ca indicator vizual pentru nivelul de încărcare al bateriei în cazul modelelor electrice.
De asemenea, caroseria ar putea transmite mesaje utile în situații speciale, de exemplu, în cazul unei defecțiuni sau al unui accident, sau chiar pentru a semnala probleme tehnice, precum presiunea scăzută în anvelope sau o aliniere incorectă a roților.
Principiul de funcționare este apropiat de cel al sticlei electrocrone utilizate deja la plafonurile panoramice moderne. Prin aplicarea unui curent electric, structura particulelor din stratul aplicat se modifică, schimbând astfel culoarea sau transparența suprafeței.
Comparativ cu experimentele realizate de BMW, precum conceptul iX Flow, abordarea Porsche pare orientată mai mult către integrarea acestor tehnologii în modele de serie, cu accent pe funcționalitate și comunicare vizuală.